1. בדוק את לחץ האוויר בצמיג.
  2. מלא את מיכל הדלק או הוסף משקל מאזן שווה ערך.
  3. כוונן את בולמי הזעזועים האחוריים בהתאמה לרוכב ולעומס הצפוי.
  4. הערה
    בחר קיר המואר בתאורה מינימלית.
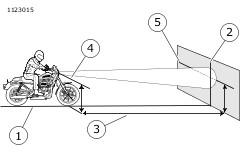
  5. ראה איור 1. החנה את האופנוע על קו הניצב (1) לסרן הקדמי 7.6 m (25 ft) (3) מקיר.
  6. צייר קו אנכי (2) על הקיר.
  7. הערה
    כוונן את אלומת הפנסים הראשיים של אופנועים בעלי פנסים ראשיים אחדים כך שהאלומות יתכנסו לתבנית אחת.
  8. כאשר האופנוע עמוס, הפנה את הגלגל הקדמי ישר קדימה לעבר הקיר. מדוד את המרחק (4) מן הרצפה למרכז של נורת האור הגבוה.
  9. צייר קו אופקי (5) שעובר דרך הקו האנכי על הקיר. מקם את הקו 53.3 mm (2.1 in) נמוך יותר מקו האמצע שנמדד לנורה.
  10. הערה
    הפנס הראשי מכוון כאשר הנקודה החמה של האור הגבוה ממוקמת מעל ההצטלבות של הקווים.
  11. כאשר האור הגבוה מופעל, בדוק את כוונון אלומת הפנס הראשי. כוונן לפי הצורך.
1קו ניצב
2קו אנכי
325 רגל (7.6 מטר)
4קו האמצע של נורת האור הגבוה
5הקו אופקי נמוך ב-2.1 אינץ‘ (53.3 מ“מ) מקו האמצע של הנורה
איור 1. כוונון אלומת פנס ראשי: דגמי Sportster