נוזל בלמים 4 DOT סופג לחות מהאוויר במרוצת זמן, ועקב זאת משתנות תכונות הנוזל. בדוק את תכולת הלחות בנוזל הבלמים בכל טיפול תקופתי או אחת לשנה (הקודם מביניהם). החלף את נוזל הבלמים כל שנתיים או מוקדם יותר אם תכולת הלחות היא 3% או יותר מכך. אי החלפת הנוזל עלולה לפגום ביכולת הבלימה וכתוצאה מכך נשקפת סכנת מוות או פגיעה חמורה. (06304b)
כדי לוודא שמערכת הבלמים פועלת כפי שתוכננה, בדוק את תכולת הרטיבות של נוזל הבלמים בכל טיפול תקופתי או לפחות פעם בשנה באמצעות בודק רטיבות בנוזל בלמים DOT 4 (מס‘ חלק HD-48497-A או שווה ערך) לפי ההוראות המצורפות לכלי. רוקן את נוזל DOT 4 כל שנתיים או מוקדם יותר אם בדיקת נוזל מערכת הבלמים מראה שתכולת הרטיבות היא 3% או יותר.
Harley-Davidson ממליצה על השימוש בנוזל הבלמים Harley-Davidson Platinum Label DOT 4 Brake Fluid בגלל התכונות המצוינות שלו למניעת לחות וקורוזיה.
נוזל בלמים

אזהרה
נקה את מכסה או כיסוי מיכל המילוי לפני הסרתו. השתמש בנוזל בלמים DOT 4 ממיכל חתום. נוזל מזוהם עלול לפגום ביכולת הבלימה או ניתוק המצמד, וכתוצאה מכך עלול לגרום למוות או פגיעה חמורה. (00504d)

אזהרה
למגע בנוזל בלמים DOT 4 עלולות להיות השפעות בריאותיות חמורות. אי שימוש בציוד הולם להגנה על העור והעיניים עלול להוביל למוות או פציעה חמורה.
במקרה שאיפה: הישאר רגוע, צא לאוויר הצח, פנה לטיפול רפואי.
במקרה מגע בעור: הסר את הבגדים המזוהמים. שטוף את העור באופן מידי בכמות רבה של מים למשך 15-20 דקות. אם מתפתח גירוי, פנה לקבלת טיפול רפואי.
במקרה מגע בעיניים: שטוף את העיניים הפגועות לפחות 15 דקות תחת מים זורמים תוך החזקת העפעפיים פתוחים. אם מתפתח גירוי, פנה לקבלת טיפול רפואי.
בליעה: שטוף את הפה ולאחר מכן שתה כמות רבה של מים. אין לעודד הקאה. יש לפנות למכון הארצי למידע בהרעלות. נדרש טיפול רפואי מידי.
עיין בגיליון נתוני הבטיחות (SDS) לפרטים נוספים, הזמין בכתובת sds.harley-davidson.com
(00240e)
התראה
מגע של נוזל בלם DOT 4 עלול לגרום נזק לפנלים ומשטחים צבועים. נקוט בזהירות והגן על משטחים מפני התזות בכל טיפול במערכת הבלם. אם אין עושים זאת, עלול להיגרם נזק קוסמטי. (00239c)
התראה
אל תאפשר ללכלוך או לפסולת להיכנס למיכל של משאבת הבלם הראשית. לכלוך או פסולת במיכל עלולים לגרום לפעולה לקויה ונזק לציוד. (00205c)
1. | הערה אם אין נזילה ממערכת הבלמים, אין כל צורך להוסיף נוזל. אם מפלס הנוזל נמוך, הרפידות ככל הנראה שחוקות ויש להחליפן. בעקבות החלפת רפידות, עולה מפלס הנוזל. השתמש בנוזל הבלמים DOT 4 Platinum והחלף את נוזל הבלמים כל שנתיים או מוקדם יותר אם תכולת הרטיבות היא 3% או יותר. פנה לסוכן של Harley-Davidson.
ראה איור 1. בדוק את מפלס הנוזל במיכל של משאבת הבלמים הראשית. הצב את הרכב על משטח שטוח ואופקי. סובב את הכידון כך שמשאבת הבלמים הראשית תימצא במצב אופקי.a. חזית עינית הבדיקה תיראה כהה אם יש נוזל. אם חזית עינית הבדיקה נותרת שקופה, פנה לסוכן של Harley-Davidson. b. מפלס הנוזל האחורי חייב להימצא בין הקו MIN לקו MAX. | |
2. | ודא כי ידית בלם היד הקדמי ודוושת בלם הרגל האחורי מספקים תחושה מוצקה כאשר משתמשים בהם. אם הבלמים אינם מספיק נוקשים (קשים), יש לנקז אוויר ממערכת הבלמים. | |
איור 1. עינית בדיקה לנוזל בלמים
רפידות בלמים

אזהרה
בדוק את בלאי רפידות הבלמים במועדי הטיפולים התקופתיים. אם רוכבים בתנאים קשים (גבעות תלולות, שעות העומס וכו'), בדוק בתדירות גבוהה יותר. רפידות בלם שחוקות יתר על המידה עלולות לגרום לכשל הבלם, וכתוצאה מכך לגרום למוות או פגיעה חמורה. (00052a)

אזהרה
הקפד להחליף ערכות שלמות של רפידות בלמים כדי להבטיח פעולת בלימה תקינה ובטוחה. פעולת בלם לא תקינה עלולה לגרום למוות או לפציעה חמורה. (00111a)

אזהרה
הבלמים הם רכיב בטיחות רב חשיבות. פנה לסוכן Harley-Davidson לתיקון או החלפה. בלמים לא תקינים עלולים להשפיע לרעה על הביצועים, וכתוצאה מכך לגרום למוות או פגיעה חמורה. (00054a)

אזהרה
בצע טיפולי תחזוקה של הבלם לפי תכנית הטיפולים התקופתית. אי ביצוע טיפולי תחזוקה במרווחים המומלצים עלול להשפיע לרעה על ביצועי הבלם, וכתוצאה מכך לגרום למוות או פגיעה חמורה. (00055a)

אזהרה
ודא שהגלגל וקליפר הבלם נמצאים זה מול זה. רכיבה כשהגלגל או קליפר הבלם אינם מכוונים עלולה לגרום לשבר של דיסקי הבלם ולאובדן שליטה, וכתוצאה מכך לגרום למוות או פציעה חמורה. (00050a)
Harley-Davidson התקינה באופנוע החדש שלך רפידות בלם העשויות מחומר בעל כושר החיכוך המיטבי בנמצא. הוא נבחר כדי לספק את הביצועים הטובים ביותר האפשריים בתנאי יובש, רטיבות וטמפרטורת עבודה גבוהה. הוא עולה על כל דרישות התקינה נכון להיום. עם זאת, בתנאי בלימה מסוימים, ייתכן שיישמע רעש. זו תופעה רגילה וטבעית עבור חומר חיכוך זה.
1. | בדוק אם קיימת הצטברות זוהמה ופסולת באזורי בוכנות הקליפר. נקה אם יש בכך צורך.a. שטוף את האזור במי סבון פושרים. b. יבש באמצעות אוויר דחוס בלחץ נמוך. | |
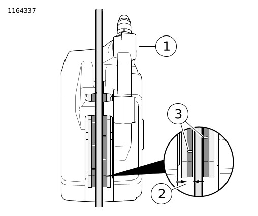
2. | ראה איור 2 ו איור 3. בדוק את דיסק/רוטור הבלם בזמן שהוא מסתובב. הדיסק/הרוטור צריך להסתובב באופן חלק בקליפר הבלם. | |
3. | הערה לרפידות של הבלם הקדמי ושל הבלם האחורי יש חריצים מצייני שחיקה בחומר החיכוך כדי לציין שחיקה ברפידות הבלם. ניתן לבדוק חזותית אם יש שחיקה ברפידות האחוריות החיצוניות, מבלי להסיר את הגלגלים האחוריים. כאשר רפידות הבלם האחורי פועלות כראוי, הרפידה הפנימית תישחק באופן דומה לזו החיצונית. בדוק חזותית את החריצים מצייני השחיקה ברפידות הבלם. ייתכן שהרפידות לא יישחקו בצורה אחידה. בדוק כל אחת מהרפידות שניתן לראות. | |
4. | החלף את רפידות הבלם לפני שהחריץ מציין השחיקה נשחק לגמרי ונעלם. | |
5. | החלף את רפידות הבלם לפני שחומר החיכוך מגיע לעובי המינימלי. החלף תמיד את רפידות הבלם בזוגות. פנה לסוכן של Harley-Davidson. עיין ב טבלה 1. | |
איור 2. חומר חיכוך של רפידת בלם קדמי
איור 3. חומר חיכוך של רפידת בלם אחורי
טבלה 1. עובי מינימלי של חומר החיכוך של רפידת הבלם
בלם | אינץ' | מ“מ |
---|
חזית | 0.016 | 0.4 |
אחורי | 0.039 | 1.0 |