주의사항
자동 점등 전조등 기능을 사용하면 다른 운전자의 눈에 보다 잘 띄게 됩니다. 항상 전조등을 켜 두십시오. 다른 운전자의 눈에 잘 띄지 않으면 사망이나 심각한 부상으로 이어질 수 있습니다. (00030b)
  1. 타이어 공기압을 점검하십시오.
  2. 운전자 및 지정 하중에 대해 리어 완충기를 조절합니다.
  3. 연료 탱크를 채우거나 동일한 중량의 밸러스트를 추가하십시오.
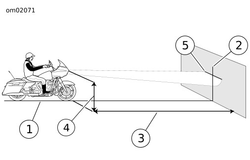
  4. 주의사항
    최소한의 빛이 있는 벽을 선택하십시오.
  5. 그림 1을(를) 참조하십시오. 모터사이클을 벽과 수직인 선(1)에 맞춰 세워 놓습니다.
  6. 모터사이클을 앞 차축이 벽에서 7,6 m (25 ft) 떨어지도록 배치합니다.
  7. 벽면에 수직 중심선(2)을 선(1)과 나란히 맞물리도록 위치합니다.
  8. 모터사이클에 하중을 실은 상태에서 프론트 휠이 벽을 똑바로 가리키도록 합니다. 바닥에서 전조등 표면 중심까지 거리(4)를 측정합니다.
  9. 수직선을 통과하면서 측정한 거리보다 53,3 mm (2.1 in) 낮은 수평선(5)을 그립니다.
  10. 교차된 선상에 조명 빔 핫스팟의 중심이 위치하게 되면 전조등이 정렬된 것입니다.
1직각선
2수직선
37.6m(25피트)
4전조등 앞면 중앙
5수평선
그림 1. 전조등 조절