אזהרה
הימנע מדליפות. פתחו באיטיות את מכסה מילוי הדלק. אל תמלא מעל לתחתית צוואר המילוי, כדי להשאיר מרחב להתפשטות הדלק. החזר את מכסה פתח המילוי לאחר תדלוק. בנזין הוא חומר דליק ונפיץ מאוד, העלול לגרום למוות או פגיעה חמורה. (00028b)
אזהרה
פעל בזהירות בעת תדלוק. אוויר בלחץ במיכל הדלק עלול לגרום לנזילת דלק מהמיכל דרך צינור המילוי. בנזין הוא חומר דליק ונפיץ מאוד, העלול לגרום למוות או פגיעה חמורה. (00029a)
הסרת מכסה פתח התדלוק
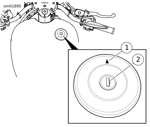
1. ראה איור 1 . הכנס את מפתח ההצתה לתוך חריץ המפתח (2).
הערה
המכסה יתרומם החוצה בזמן סיבוב המפתח.
2. סובב את המפתח בכיוון השעון.
3. הסר את מכסה פתח התדלוק.
התראה
היזהר שלא לשפוך דלק על האופנוע בזמן התדלוק. יש לנגב מיד את הדלק שנשפך על האופנוע שלך. דלק עלול לגרום נזק לחיפויים. (00147b)
4. מלא את המיכל. השתמש אך ורק בדלק המומלץ. ראה סעיף לפני רכיבה → פרטי מערכת דלק. אל תמלא את מיכל הדלק יתר על המידה. הכנס את פיית התדלוק של המשאבה לפתח המילוי. אין למלא את המיכל מעבר לקצה התחתון של צוואר המילוי. ראה איור 2 . מנוע חם, השמש או טמפרטורות קיצוניות עלולים לגרום לדלק להתפשט. דלק עלול להישפך מהמיכל ולפגום בגימור. ראה סעיף קודם כל בטיחות → כללי הפעלה בטוחה.
התקנת מכסה פתח התדלוק
אזהרה
אל תשתמש במכסי פתח תדלוק לא מקוריים. מכסי פתח תדלוק לא מקוריים עלולים שלא להתאים כהלכה ולאפשר דליפה, וכתוצאה מכך לגרום למוות או לפציעה חמורה. פנה לסוכן של Harley-Davidson לגבי מכסי דלק מאושרים. (00034a)
הערה
החץ במכסה מצביע על לשונית סימון במכסה. לשונית הסימון ממוקמת מול חריץ בפתח התדלוק במיכל.
  1. ודא שהמפתח יושב בתוך המכסה במלואו לפני ההתקנה מחדש.
  2. החזר את מכסה פתח התדלוק כאשר החץ (1) מצביע לכיוון החלק הקדמי.
  3. אחוז את המכסה בהיקפו ולחץ עליו כלפי מטה כדי לכווץ את קפיץ המכסה. ייתכן שתשמע שתי נקישות בעת שהמכסה ננעל למקומו.
  4. סובב את המפתח נגד כיוון השעון כדי לנעול את המכסה ולהוציא את המפתח.
1חץ מיקום
2חריץ המפתח
איור 1. המכסה של פתח מילוי הדלק
איור 2. מפלס הדלק מתחת לצוואר המילוי