PERINGATAN
Fitur lampu depan nyala-otomatis meningkatkan visibilitas pengendara terhadap pengendara sepeda motor lainnya. Pastikan lampu depan menyala terus sepanjang waktu. Kurangnya visibilitas pengendara terhadap pengendara sepeda motor lainnya dapat menyebabkan kematian atau cedera parah. (00030b)
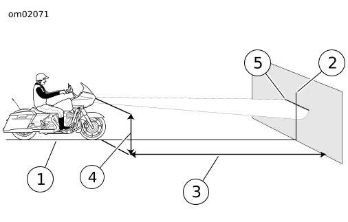
  1. Periksa tekanan ban.
  2. Sesuaikan peredam kejut belakang untuk pengendara dan beban yang akan dimuat.
  3. Isi tangki bahan bakar atau tambahkan jumlah pemberat yang setara.
  4. CATATAN
    Pilih dinding dengan sedikit cahaya.
  5. Lihat Gambar 1. Parkir sepeda motor di garis (1) yang tegak lurus dengan dinding.
  6. Posisikan sepeda motor dengan as depan 7,6 m (25 ft) dari dinding.
  7. Tarik sebuah garis tengah vertikal (2) di dinding sejajar dengan garis (1).
  8. Dengan sepeda motor dimuati beban, arahkan roda depan lurus menghadap ke dinding. Ukur jarak (4) dari lantai ke pusat bagian depan lampu depan.
  9. Gambar garis horizontal (5) melalui garis vertikal 53,3 mm (2.1 in) lebih rendah daripada jarak yang diukur.
  10. Lampu depan lurus jika titik tengah sorot lampu berada di persimpangan garis.
1Garis tegak lurus
2Garis vertikal
325 ft (7,6 m)
4Pusat permukaan lampu depan
5Garis horizontal
Gambar 1. Pelurusan Lampu Depan