1. Periksa tekanan ban.
  2. Isi tangki bahan bakar atau tambahkan jumlah pemberat yang setara.
  3. Sesuaikan peredam kejut belakang untuk pengendara dan beban yang akan dimuat.
  4. CATATAN
    Pilih dinding dengan sedikit cahaya.
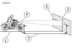
  5. Lihat Gambar 1. Parkirkan sepeda motor dengan garis tegak lurus (1) dengan poros depan 7,6 m (25 ft) (3) dari dinding.
  6. Gambar garis vertikal (2) di dinding.
  7. CATATAN
    Sesuaikan lampu depan sepeda motor dengan lampu depan beberapa sorotan untuk menyatukannya menjadi satu pola.
  8. Dengan sepeda motor dimuati beban, arahkan roda depan lurus menghadap ke dinding. Ukur jarak (4) dari lantai ke pusat bohlam lampu sorot jauh.
  9. Gambar garis vertikal (5) melalui garis vertikal di dinding. Letakkan garis 53,3 mm (2.1 in) lebih rendah daripada garis tengah bohlam yang sudah diukur.
  10. CATATAN
    Lampu depan lurus jika titik tengah sorot lampu berada di persimpangan garis.
  11. Dengan sorot jauh menyala, periksa garis arah lampu depan. Sesuaikan jika perlu.
1Garis tegak lurus
2Garis vertikal
325 ft (7,6 m)
4Garis tengah bohlam sorot jauh
5Garis horizontal 2,1 in (53,3 mm) lebih rendah dari garis tengah bohlam
Gambar 1. Pelurusan Lampu Depan: Model Sportster