Setelah penggunaan dalam waktu yang lama, minyak rem DOT 4 akan menyerap kelembapan dari udara dan mengubah sifat minyak. Periksa kadar kelembapan minyak rem di setiap interval servis atau setiap tahun (mana pun yang tercapai lebih dulu). Kuras dan ganti minyak rem setiap dua tahun sekali atau lebih cepat jika kadar kelembapannya sebesar 3% atau lebih tinggi. Kelalaian menguras dan mengganti minyak rem dapat memengaruhi pengereman yang dapat mengakibatkan kematian atau cedera parah. (06304b)
Untuk memastikan sistem rem berfungsi dengan baik, periksa kadar kelembapan minyak rem pada setiap interval servis atau setidaknya setahun sekali menggunakan alat uji kelembapan minyak rem DOT 4 (nomor komponen HD-48497-A atau yang setara) sesuai instruksi yang disertakan dengan alat. Kuras minyak DOT 4 setiap 2 tahun atau lebih dini jika uji minyak sistem rem menunjukkan kadar kelembapan 3% atau lebih.
Harley-Davidson menyarankan penggunaan Minyak Rem Label Platinum DOT 4 Harley-Davidson karena memiliki kelembapan yang baik dan mengandung bahan pencegah korosi.
Minyak Rem

PERINGATAN
Bersihkan tutup tangki bahan bakar sebelum dilepaskan. Hanya gunakan minyak rem DOT 4 dari wadah yang tertutup. Minyak rem yang terkontaminasi dapat memengaruhi pelepasan rem atau kopling yang dapat menyebabkan kematian atau cedera parah. (00504d)

PERINGATAN
Kontak dengan minyak rem DOT 4 dapat memberikan dampak buruk yang serius pada kesehatan. Kelalaian untuk mengenakan pelindung mata dan kulit yang tepat dapat menyebabkan kematian atau cedera parah.
Jika terhirup: Tetaplah tenang, hirup udara segar, cari bantuan medis.
Jika mengenai kulit: Lepas pakaian yang terkena minyak. Basuh kulit dengan air selama 15-20 menit. Jika iritasi semakin parah, cari bantuan medis.
Jika mengenai mata: Biarkan kelopak mata terbuka dan cuci mata yang terkena minyak dengan air mengalir selama setidaknya 15 menit. Jika iritasi semakin parah, cari bantuan medis.
Jika tertelan: Bersihkan mulut dan minum banyak air. Jangan paksa untuk muntah. Hubungi Layanan Penanggulangan Keracunan. Segera cari bantuan medis.
Lihat Lembar Data Keselamatan (SDS) untuk perinciannya di sds.harley-davidson.com
(00240e)
PEMBERITAHUAN
Permukaan yang dicat dan panel bodi dapat rusak jika terkena minyak rem DOT 4. Selalu berhati-hati dan lindungi permukaan dari tumpahan ketika melakukan servis pada rem. Kelalaian dalam mematuhi petunjuk ini dapat menyebabkan kerusakan penampilan kendaraan. (00239c)
PEMBERITAHUAN
Jangan sampai kotoran atau serpihan masuk ke tabung silinder master. Kotoran atau serpihan dalam tabung dapat menyebabkan operasi yang tidak sesuai dan perlengkapan rusak. (00205c)
| 1. | CATATAN Jika sistem rem tidak mengalami kebocoran, minyak rem tidak perlu ditambah. Jika ketinggian minyak rendah, kampas mungkin aus dan harus diganti. Dengan mengganti kampas, ketinggian minyak meningkat. Hanya gunakan minyak rem DOT 4 Platinum dan ganti minyak rem setiap dua tahun atau lebih awal jika kadar kelembapannya 3% atau lebih. Kunjungi dealer Harley-Davidson.
Lihat Gambar 1. Periksa ketinggian minyak dalam tabung silinder master rem. Parkir kendaraan di permukaan yang rata. Putar setang sehingga silinder master rata.a. Kaca transparan depan tampak gelap jika minyak ada. Jika kaca transparan depan tetap jernih, kunjungi dealer Harley-Davidson. b. Ketinggian minyak belakang harus di antara garis MIN dan MAX. | |
| 2. | Pastikan tuas tangan rem depan dan pedal kaki rem belakang terasa kencang saat digunakan. Jika rem tidak terasa kencang, buang minyak rem dari sistem rem. | |
Gambar 1. Kaca Transparan Minyak Rem
Kampas Rem

PERINGATAN
Periksa kampas rem apakah ada keausan pada interval servis pemeliharaan. Sering-seringlah melakukan pemeriksaan jika berkendara di kondisi lingkungan parah (tanjakan curam, lalu lintas macet, dll). Kampas rem yang aus secara berlebihan dapat menimbulkan rem blong yang dapat menyebabkan kematian atau cedera parah. (00052a)

PERINGATAN
Selalu ganti kampas rem dalam satu rangkaian guna menjamin pengoperasian rem yang benar dan aman. Pengoperasian rem yang keliru dapat menyebabkan kematian atau cedera parah. (00111a)

PERINGATAN
Rem merupakan komponen keselamatan penting. Hubungi dealer Harley-Davidson untuk perbaikan atau penggantian rem. Rem yang tidak diservis dengan benar dapat memengaruhi performa rem dan menyebabkan kematian atau cedera parah. (00054a)

PERINGATAN
Lakukan pemeliharaan rem rutin sesuai jadwal. Pemeliharaan yang tidak dilakukan pada interval yang direkomendasikan dapat memengaruhi performa rem yang dapat menyebabkan kematian atau cedera parah. (00055a)

PERINGATAN
Pastikan roda dan kaliper rem disetel dengan benar. Berkendara dengan roda atau kaliper rem yang tidak disetel dengan benar dapat membuat cakram macet dan hilang kendali yang dapat menyebabkan kematian atau cedera parah. (00050a)
Harley-Davidson telah melengkapi sepeda motor Anda dengan bahan gesek kampas rem nomor satu. Bahan tersebut memberikan performa terbaik dalam kondisi basah, kering, maupun suhu tinggi. Kami memilih bahan yang melampaui semua persyaratan wajib yang berlaku. Namun, dalam beberapa kondisi pengereman, Anda mungkin mendengar suara bising. Hal itu normal untuk bahan gesek.
| 1. | Inspeksi akumulasi pasir dan debu pada area piston kaliper. Bersihkan jika perlu.a. Bilas area dengan air hangat bersabun. b. Keringkan menggunakan udara terkompresi bertekanan rendah. | |
| 2. |
Lihat
Gambar 2
dan
Gambar 3
.
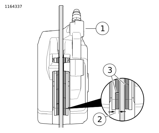
Periksa cakram/rotor rem saat berputar. Cakram/rotor semestinya berputar dengan benar di kaliper rem. | |
| 3. | CATATAN Kampas rem depan dan belakang memiliki slot indikator keausan dalam bahan gesekan untuk menunjukkan keausan kampas rem. Keausan kampas belakang bagian luar dapat diperiksa secara visual tanpa mencopot roda belakang. Saat beroperasi secara benar, kampas rem belakang bagian dalam akan aus seperti bagian luar. Periksa slot indikator keausan kampas rem secara visual. Kampas mungkin tidak aus secara merata. Periksa setiap kampas yang dapat dilihat. | |
| 4. | Ganti kampas rem sebelum slot indikator keausan aus. | |
| 5. | Ganti kampas rem sebelum bahan gesek mencapai tingkat ketebalan minimum. Kampas rem harus selalu diganti sepasang sekaligus. Kunjungi dealer Harley-Davidson.
Lihat
Tabel 1
.
| |
Gambar 2. Bahan Gesek Kampas Rem Depan
Gambar 3. Bahan Gesek Kampas Rem Belakang
Tabel 1. Ketebalan Minimum Bahan Gesek Kampas Rem
BRAKE | inci | mm |
|---|
Depan | 0.016 | 0.4 |
Belakang | 0.039 | 1.0 |