PERINGATAN
Jangan tumpahkan bahan bakar. Buka secara perlahan tutup tangki bahan bakar. Jangan mengisi bahan bakar melebihi insert leher pengisi, beri ruang untuk gerak bahan bakar. Kencangkan tutup.tangki setelah mengisi ulang. Bensin mudah terbakar dan mudah meledak, yang dapat menyebabkan kematian atau cedera parah. (00028b)
PERINGATAN
Berhati-hatilah saat mengisi bahan bakar. Udara bertekanan yang ada di tangki bahan bakar dapat memaksa bensin keluar melalui selang tangki. Bensin mudah terbakar dan mudah meledak, yang dapat menyebabkan kematian atau cedera parah. (00029a)
Melepas Tutup Tangki Bahan Bakar
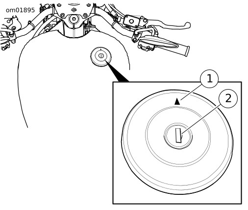
1. Lihat Gambar 1. Sisipkan kunci ignisi ke slot kunci (2).
CATATAN
Tutup tangki bahan bakar akan terbuka setelah kunci diputar.
2. Putar kunci searah jarum jam.
3. Lepas tutup tangki bahan bakar.
PEMBERITAHUAN
Berhati-hatilah saat mengisi bahan bakar agar tidak tumpah ke bodi sepeda motor. Segera seka tumpahan bahan bakar pada sepeda motor Anda. Bahan bakar dapat menyebabkan kerusakan pada permukaan penampilan. (00147b)
4. Isi tangki. Hanya gunakan bahan bakar yang direkomendasikan. Lihat Sebelum Berkendara → Informasi Sistem Bahan Bakar. Jangan mengisi bahan bakar secara berlebihan ke tangki bahan bakar. Masukkan nosel pompa ke dalam mulut tangki. Jangan mengisi tangki melebihi bagian bawah leher pengisi. Lihat Gambar 2. Mesin panas, sinar matahari atau suhu ekstrem dapat menyebabkan bahan bakar memuai. Bahan bakar dapat tumpah dari tangki dan merusak permukaan sepeda motor. Lihat Dahulukan Keselamatan → Peraturan Pengoperasian yang Aman.
Memasang Tutup Tangki Bahan Bakar
PERINGATAN
Jangan gunakan tutup bahan bakar non-pabrikan. Tutup bahan bakar non-pabrikan bisa tidak terpasang rapat dan bocor, yang dapat menyebabkan kematian atau cedera parah. Bawa ke dealer Harley-Davidson untuk mendapatkan tutup bahan bakar yang disetujui. (00034a)
CATATAN
Tanda panah pada tutup tangki bahan bakar mengarah ke tab indeks pada tutup. Tab indeks tersebut sejajar dengan slot di bagian bukaan untuk bahan bakar pada tangki.
  1. Pastikan kunci terpasang sepenuhnya ke dalam tutup sebelum pemasangan ulang.
  2. Pasang tutup tangki bahan bakar dengan tanda panah (1) menunjuk ke arah depan.
  3. Tekan sekeliling tutup untuk memampatkan pegas tutup tangki bahan bakar. Anda mungkin mendengar 2 kali klik ketika tutup terkunci di tempatnya.
  4. Putar kunci berlawanan arah jarum jam untuk mengunci tutup dan melepaskan kunci.
1Pelurusan panah
2Slot kunci
Gambar 1. Penutup Pengisi Bahan Bakar
Gambar 2. Ketinggian Bahan Bakar di bawah Leher Lubang Tangki