Sprawdzanie przy zimnym silniku (przed jazdą)
POWIADOMIENIE
Nie należy dopuścić, aby poziom oleju opadł poniżej znaku MIN na wskaźniku prętowym lub na wzierniku. Mogłoby to doprowadzić do uszkodzenia pojazdu i/lub jego nieprawidłowego działania. (00573d)
POWIADOMIENIE
Nie nalewać zbyt dużo oleju. Mogłoby to doprowadzić do przeniesienia oleju do filtra powietrza i spowodować nieprawidłowe funkcjonowanie pojazdu. (00190b)
POWIADOMIENIE
Nie należy często zmieniać marek olejów, ponieważ niektóre z nich mogą po zmieszaniu wchodzić ze sobą w interakcje chemiczne. Stosowanie smarów gorszej jakości może być przyczyną uszkodzenia silnika. (00184a)
UWAGA
Prawidłowy odczyt poziomu oleju silnikowego można wykonać tylko wtedy, gdy silnik znajduje się w normalnej temperaturze roboczej (sprawdzanie na gorąco).
  1. Zobacz Rysunek 1. Wyjąć korek wlewu oleju/wskaźnik prętowy i wizualnie sprawdzić olej w zbiorniku.
  2. UWAGA
    Jeżeli lampka wskaźnika ciśnienia oleju nadal świeci się po uruchomieniu silnika, należy natychmiast wyłączyć silnik.
  3. Jeżeli olej nie jest widoczny w zbiorniku, należy wkręcić z powrotem wskaźnik prętowy i włączyć silnik.
  4. Pozwolić, aby silnik pracował na biegu jałowym przez 30 sekund i wyłączyć go.
  5. Wyjąć korek wskaźnik prętowy poziomu oleju i wizualnie sprawdzić olej w zbiorniku.
  6. Jeżeli w zbiorniku nie ma oleju, dolać olej w porcjach po 0,2 L (6.8 fl oz).
  7. Wkręcić całkowicie korek wlewu/wskaźnik prętowy i wyjąć go, aby odczytać poziom oleju.
  8. Kiedy olej jest widoczny u dołu wskaźnika, sprawdzić na gorąco.
Kontrola poziomu oleju przy gorącym silniku
  1. Jechać motocyklem przez 10 minut, przejeżdżając 8 km (5 mi), aby doprowadzić silnik do normalnej temperatury roboczej.
  2. Potrzymać motocykl na podpórce na biegu jałowym przez jedną do dwóch minut. WYŁĄCZYĆ silnik.
  3. Wyjąć wskaźnik prętowy i wytrzeć go do sucha.
  4. UWAGA
    Nie należy dokręcać zbyt mocno korka spustowego/wskaźnika prętowego.
  5. Wkręcić całkowicie wskaźnik prętowy do zbiornika oleju.
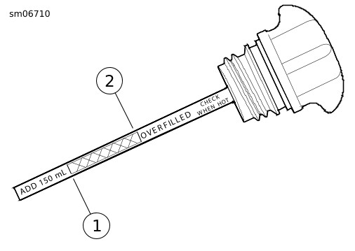
  6. Zobacz Rysunek 2. Wyjąć wskaźnik prętowy i odczytać poziom oleju.
    1. Poniżej dolnej linii: Dolać tylko tyle oleju, aby jego poziom znajdował się między górną i dolną linią. Zalecana lepkość zależy od temperatury otoczenia. Sprawdź w Konserwacja i smarowanie → Smarowanie silnika → Zalecane oleje silnikowe.
    2. Pomiędzy górną i dolną linią: Można bezpiecznie używać motocykl.
    3. Na (lub powyżej) górnej linii: Spuścić tylko tyle oleju, aby jego poziom znalazł się między górną i dolną linią.
  7. Wkręcić całkowicie wskaźnik prętowy do zbiornika oleju.
Rysunek 1. Miejsce zakrętki wlewu i wskaźnika prętowego: Modele XB (pokazany Firebolt)
1Dolna linia
2Górna linia
Rysunek 2. Prawidłowy zakres roboczy poziomu oleju: Modele XB